Products
Products
     
    CRS320-8P-8B-4S+RM The first MikroTik high-power PoE++ switch – for easy and cost-effective powering of industry standard 802.3af/at/bt devices. Forget about countless power cables – create a cleaner space with PoE++!

    CRS320-8P-8B-4S+RM Cable management can get really exhausting. But it doesn’t have to. Our first PoE++ or 802.3bt switch can make your cable management so much easier, as it can output enough power for all your hotel, conference hall, office and high-rise building needs!

    4K security cameras with built-in winter heating elements, LED ad screens, PoE-powered light fixtures – CRS320 can output up to 90W per port, enough even for the most demanding devices! It comes with a reliable 600 W power supply, but we’ve reserved an expansion slot for an additional PSU, in case you need to raise the power output to 1150 W.

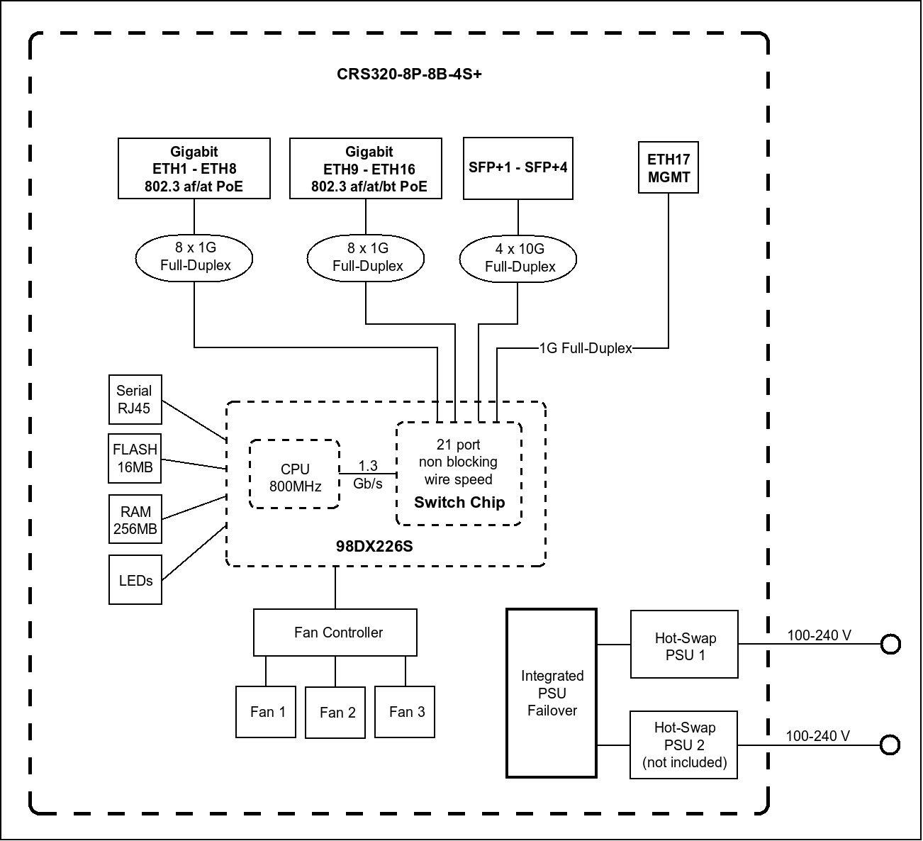
    There are 17 Gigabit Ethernet ports: #1 - #8 Gigabit Ethernet ports with 802.3af/at PoE-out, #9 - #16 802.3bt PoE++ ports, and an extra Gigabit Ethernet port for management purposes. There’s also a console port, and four 10G SFP+ fiber ports for uplink.

    At its core, this convenient switch has a phenomenal Marvel switch-chip – the same one you’ve seen in ISP bestsellers like the netPower 16P and netFiber 9! It can handle the heaviest loads, including VLAN-filtering and hardware-offloaded Layer-3 routing.

    If you’ve been looking for a way to simplify your cable management – this is it! With a single CRS320, you can ditch that endless mess of DC power adapters and start living the clean minimalist PoE dream.

    Unlike our previous 802.3af/at Power Sourcing Equipment, this is our first PoE switch with full implementation of the 802.3af/at/bt standard. It supports only fully compliant 802.3 at/af/bt Powered Devices - mAP-lite / RB1100AHx4 / CRS510-8XS-2XQ / CRS504-4XQ / FTC11XG / CRS305-1G-4S+OUT. While it can also power “802.3af/at/bt-compatible” Powered Devices, you must avoid specific grounding scenarios. Please refer to the official Help page. .

    A hot-swappable PSU is included.

     Send purchase questions

    Specifications

    Details
    Product code CRS320-8P-8B-4S+RM
    Architecture ARM 32bit
    CPU 98DX226S
    CPU core count 2
    CPU nominal frequency 800 MHz
    Switch chip model 98DX226S
    RouterOS license 5
    Operating System RouterOS v7 / SwitchOS
    Size of RAM 256 MB
    Storage size 32 MB
    Storage type FLASH
    MTBF Approximately 200'000 hours at 25C
    Tested ambient temperature -10°C to 50°C
    Suggested price $489.00

    Powering

    Details
    Number of AC inputs 1
    AC input range 100-240
    Number of PSU slots 2
    Frequency (Hz) 50-60
    Max power consumption 600W (1150W with additional PSU)
    Max power consumption without attachments 36 W
    Cooling type 3 fans

    PoE-out

    Details
    PoE-out ports Ether1-Ether8 (af/at), Ether9-Ether16 (bt)
    PoE out 802.3af/at/bt
    High voltage PoE-Out current limit 560 (af/at) / 1667 (bt) mA
    Max total out (A) 17.82 A
    Total output current 17.82
    Total output power 963

    Ethernet

    Details
    10/100/1000 Ethernet ports 17
    Number of 1G Ethernet ports with PoE-out 16

    Fiber

    Details
    SFP+ ports 4

    Peripherals

    Details
    Serial console port RJ45

    Other

    Details
    CPU temperature monitor Yes
    PCB temperature monitor Yes
    Voltage Monitor Yes

    Certification & Approvals

    Details
    Certification CE, EAC, ROHS
    IP 20

    Included parts

    BrochureOpen
    Quick GuideOpen
    User manualOpen
    RouterOS current releaseDownload
    Block DiagramOpen
    DimensionsOpen
    SFP compatibility listOpen
    RouterOS software manualOpen
    SwOS software manualOpen
    Declaration of conformityOpen (CE)

    High resolution images

    Switching results

    CRS320-8P-8B-4S+RM
    Mode Configuration 1518 byte 512 byte 64 byte
    kpps Mbps kpps Mbps kpps Mbps
    Switching Non blocking Layer 2 throughput 4,632.6 56,258.8 13,392.9 54,857.1 84,821.4 43,428.6
    Switching Non blocking Layer 2 capacity 4,632.6 112,517.6 13,392.9 109,714.3 84,821.4 86,857.1
    Switching Non blocking Layer 1 throughput 4,632.6 57,000.0 13,392.9 57,000.0 84,821.4 57,000.0
    Switching Non blocking Layer 1 capacity 4,632.6 114,000.0 13,392.9 114,000.0 84,821.4 114,000.0

    Ethernet test results

    CRS320-8P-8B-4S+RM98DX226S - all port test
    ModeConfiguration1518 byte512 byte64 byte
    kppsMbpskppsMbpskppsMbps
    Bridgingnone (fast path)104.31266.4273.71121.2321.2174.7
    Bridging25 bridge filter rules96.51171.7107.2439.1106.658
    Routingnone (fast path)104.21265.2274.31123.5387.6210.9
    Routing25 simple queues95.81163.2101.4415.410255.5
    Routing25 ip filter rules63.4769.764.4263.863.534.6
    1. All tests are done with Xena Networks specialized test equipment (XenaBay),and done according to RFC2544 (Xena2544)
    2. Max throughput is determined with 30+ second attempts with 0,1% packet loss tolerance in 64, 512, 1518 byte packet sizes
    3. Test results show device maximum performance, and are reached using mentioned hardware and software configuration, different configurations most likely will result in lower results

    The device has an operating system preinstalled and licensed. No separate purchase is necessary and the product is ready to use. The device includes free software updates for the life of the product or a minimum of 5 years starting from date of purchase..


    Related products

    Download: Full CE declaration (PDF)

    Information about CRS320-8P-8B-4S+RM

    [BG] Bulgarian С настоящето, "Mikrotikls SIA", декларира, че CRS320-8P-8B-4S+RM е в съответствие със съществените изисквания и другитеприложими разпоредби на Директива 2014/30/EC.
    [CZ] Czech "Mikrotikls SIA" tímto prohlašuje, že CRS320-8P-8B-4S+RM splňuje základní požadavky a všechna příslušná ustanoveni Směrnice 2014/30/ES.
    [DK] Danish Undertegnede "Mikrotikls SIA" erklærer herved, at følgende udstyr CRS320-8P-8B-4S+RM overholder de væsentlige krav og øvrige relevante krav i direktiv 2014/30/EF.
    [DE] German Hiermit erklärt "Mikrotikls SIA", dass sich das Gerät CRS320-8P-8B-4S+RM in Übereinstimmung mit den grundlegenden Anforderungen und den übrigen einschlägigen Bestimmungen der Richtlinie 2014/30/EG befindet.
    [EE] Estonian Käesolevaga kinnitab "Mikrotikls SIA" seadme CRS320-8P-8B-4S+RM vastavust direktiivi 2014/30/EÜ põhinõuetele ja nimetatud direktiivist tulenevatele teistele asjakohastele sätetele.
    [GR] Greek ΜΕ ΤΗΝ ΠΑΡΟΥΣΑ Ο ΚΑΤΑΣΚΕΥΑΣΤΗΣ "Mikrotikls SIA" ΔΗΛΩΝΕΙ ΟΤΙ CRS320-8P-8B-4S+RM ΣΥΜΜΟΡΦΩΝΕΤΑΙ ΠΡΟΣ ΤΙΣ ΟΥΣΙΩΔΕΙΣ ΑΠΑΙΤΗΣΕΙΣ ΚΑΙ ΤΙΣ ΛΟΙΠΕΣ ΣΧΕΤΙΚΕΣ ΔΙΑΤΑΞΕΙΣ ΤΗΣ ΟΔΗΓΙΑΣ 2014/30/ΕΚ
    [EN] English Hereby, "Mikrotikls SIA", declares that this CRS320-8P-8B-4S+RM is in compliance with the essential requirements and other relevant provisions of Directive 2014/30/EC.
    [ES] Spanish Por la presente, "Mikrotikls SIA", declara que este CRS320-8P-8B-4S+RM cumple con los requisitos esenciales y otras exigencias relevantes de la Directiva 2014/30/EC.
    [IT] Italian Con la presente "Mikrotikls SIA" dichiara che questo CRS320-8P-8B-4S+RM è conforme ai requisiti essenziali ed alle altre disposizioni pertinenti stabilite dalla direttiva 2014/30/CE.
    [LV] Latvian Ar šo "Mikrotikls SIA" deklarē, ka CRS320-8P-8B-4S+RM atbilst Direktīvas 2014/30/EK būtiskajām prasībām un citiem ar to saistītajiem noteikumiem.
    [LT] Lithuanian Šiuo "Mikrotikls SIA" deklaruoja, kad šis CRS320-8P-8B-4S+RM atitinka esminius reikalavimus ir kitas 2014/30/EB Direktyvos nuostatas
    [HU] Hungarian A "Mikrotikls SIA" ezzennel kijelenti, hogy a CRS320-8P-8B-4S+RM típusú beren-dezés teljesíti az alapvető követelményeket és más 2014/30/EK irányelvben meghatározott vonatkozó rendelkezéseket.
    [NL] Dutch Hierbij verklaart "Mikrotikls SIA" dat het toestel l CRS320-8P-8B-4S+RM in overeenstemming is met de essentiële eisen en de andere relevante bepalin-gen van richtlijn 2014/30/EG.
    [PL] Polish Niniejszym "Mikrotikls SIA" deklaruje że CRS320-8P-8B-4S+RM jest zgodny z zasadniczymi wymaganiami i innymi właściwymi postanowieniami Dyrektywy 2014/30/EC.
    [PT] Portuguese Eu, "Mikrotikls SIA", declaro que o CRS320-8P-8B-4S+RM cumpre os requisitos essenciais e outras provisões relevantes da Directiva 2014/30/EC.
    [RO] Romanian Prin prezenta, "Mikrotikls SIA", declară că aparatul CRS320-8P-8B-4S+RM este în conformitate cu cerinţele esenţiale şi cu alte prevederi pertinente ale Directivei 2014/30/CE.
    [SK] Slovak "Mikrotikls SIA" týmto vyhlasuje, že CRS320-8P-8B-4S+RM spĺňa základné požiadavky a všetky príslušné ustanovenia Smernice 2014/30/ES.
    [SI] Slovenian "Mikrotikls SIA" izjavlja, da je ta CRS320-8P-8B-4S+RM v skladu z bistvenimi zahtevami in drugimi relevantnimi določili direktive 2014/30/ES.
    [FI] Finish "Mikrotikls SIA" vakuuttaa täten että CRS320-8P-8B-4S+RM tyyppinen laite on direktiivin 2014/30/EY oleellisten vaatimusten ja sitä koskevien direktiivin muiden ehtojen mukainen.
    [SE] Swedish Denna utrustning är i överensstämmelse med de väsentliga kraven och andra relevanta bestämmelser i direktiv 2014/30/EC.
    [NO] Norwegian "Mikrotikls SIA", Erklærer herved at CRS320-8P-8B-4S+RM er i samsvar med de grunnleggende krav og øvrige relevante krav i direktiv 2014/30/EF.
    ×